1 2 トランスの等価回路
Home Hiroshima U Ac Jp

2012 196020号 単独運転検出方法 及び単独運転検出装置 Astamuse


三巻線変圧器の理論 電気の神髄

電験三種 やさしい解説 機械 誰でもわかる電験参考書

2012 028426号 計器用変圧器の二次電圧の変歪補正方法及びその装置 Astamuse
変圧器12 二次 一次変換no 1 電験三種 やさしい解説 機械 誰でもわかる電験参考書

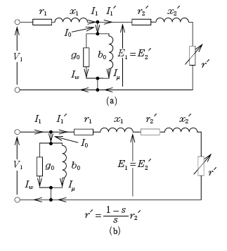
平成28年度 問題9 電気機器 目指せ エネルギー管理士 電気分野

三巻線変圧器の理論 電気の神髄

等価回路とは E M Jobs

電検三種 機械 変圧器の基礎 ヘルニアクソ野郎エンジニアblog
Tags:
Archive